GROHE Blue Pure Minta Štartovacia súprava
Úvodní sada GROHE Blue Pure Minta Duo pro čistou, filtrovanou vodu z kohoutku, s užitečnou funkcí vytahovací sprchy
Žádné plýtvání balenou vodou – nyní můžete získat čistou chuť filtrované vody přímo z kuchyňské baterie. Úvodní sada GROHE Blue Pure Minta Duo vám poskytne vše, co potřebujete k tomu, abyste do kuchyně přinesli skvěle ochutnávající filtrovanou vodu v jednom čistém obalu. Aktivní uhlíkový filtr GROHE Blue 3000L optimalizuje chuť tím, že odstraňuje chlór a určité organické sloučeniny včetně biocidů, insekticidů a pesticidů pro čistotu a svěžest chuti vody. Časovač výměny filtrů lze nastavit na 90, 180, 270 nebo 360 dnů a budete upozorněni akustickým signálem, když nastane čas výměny. To vše nabízí baterie Blue Pure, ale se všemi výhodami designu a výkonu klasické kuchyňské baterie GROHE. Konstrukce obsahuje vysokou výpusť ve tvaru písmene L. Uvnitř baterie se oddělené rozvody GROHE Zero starají o udržení čisté pitné vody. Pro standardní, užitkovou vodu používejte pákovou rukojeť nebo otáčejte snadno uchopitelnou nastavitelnou rukojetí filtrované vody. Chytrá vytahovací sprchová hlavice poskytuje větší flexibilitu, která je ideální pro oplachování dřezu nebo přípravu zeleniny, a 360° otočná tryska zvyšuje její pohyblivost. Tato stojánková baterie se může pyšnit také moderním, ovšem současně odolným povrchem GROHE SuperSteel. Mechanismus GROHE SilkMove s dlouhou životností zajišťuje plynulou a snadnou obsluhu.
Kľúčové vlastnosti
- consisting of:
- GROHE Blue páková drezová batéria s filtračnou funkciou
- single hole installation
- Výtoková rúrka typu L
- pull-out mousseur
- separate handle for filtered water
- headpart 1/2"
- povrchová úprava GROHE LongLife
- GROHE SilkMove 46 mm ceramic cartridge
- swivel tubular spout
- rozsah otáčania 90°
- Oddelené vedenie vody
- flexible connection hoses
- filtračná hlavica GROHE Blue
- filter s aktívnym uhlím GROHE Blue – zaisťuje špičkovú chuť
- capacity 3000 l
- počítadlo času do výmeny filtra vrátane 2 batérií typu AA
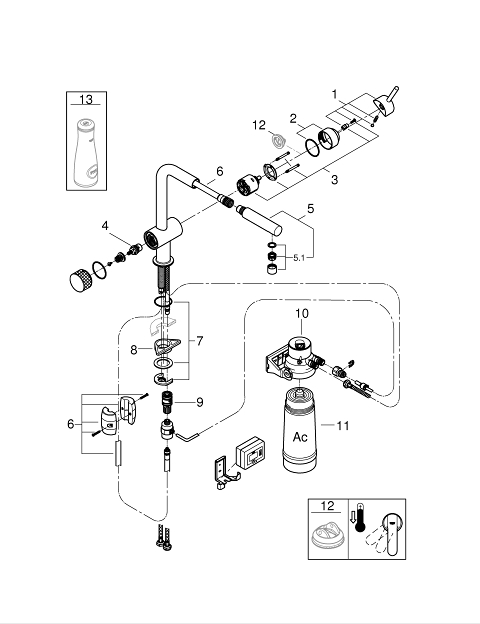
Dáta pre CAD
Č. prod. | Popis produktu | Č. objednávky |
---|---|---|
* Špeciálne príslušenstvo | ||
1 | Kompletná páka | 46015DC0 |
2 | Kryt | 46025DC0 |
3 | Kartuša | 46048000 |
4 | Keramický vršok DN 15 | 48509000 |
5 | Sprška | 46999DC0 |
5.1 | Mousseur GROHE Blue L spout | 48194DC0 |
6 | sprchová hadica | 48378000 |
7 | Kontraskrutkový spoj | 46345000 |
8 | Stabilizačná doska | 05334000 |
9 | Rýchlospojka | 46315000 |
10 | Filtračná hlavica | 64508001 |
11 | GROHE Blue filter aktívny uhlík | 40547001 |
12 | Obmedzovač teploty | 46375000* |
13 | Sklenená karafa | 40405000* |
Mohlo by sa vám páčiť

Nech už je vaša predstava o dokonalom osviežení akákoľvek – či je to perlivá, jemne perlivá alebo neperlivá voda – kuchynské systémy GROHE Blue vám ju splnia jediným stlačením tlačidla.
Inovatívny systém GROHE Red poskytuje vriacu vodu priamo z kohútika, bezpečne a bez čakania.